Microsoft запатентовала ИИ-помощника для игр

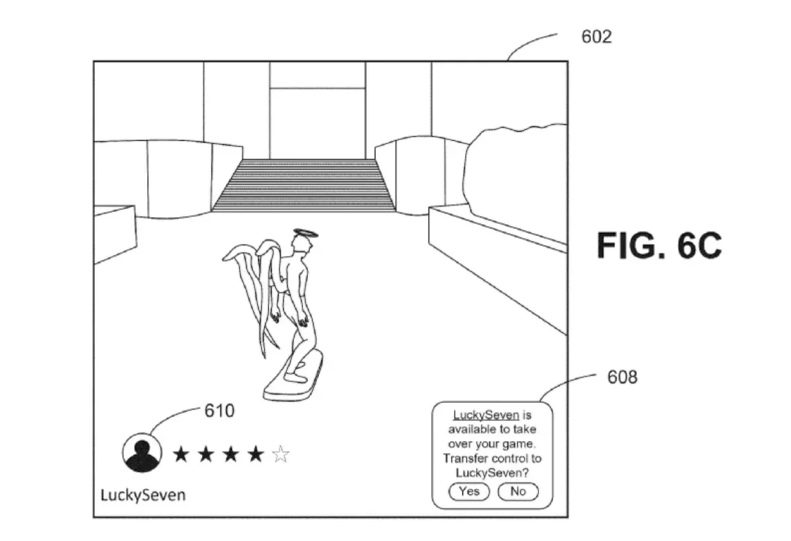
Microsoft оформила патент на систему ИИ-помощи, способную временно брать управление игрой на себя. Речь идёт о технологии state management for video game help sessions, которая позволит передавать контроль во время сложных моментов.

Игрок сможет инициировать облачную сессию помощи — текстовую, голосовую или видео. Управление передаётся другому игроку, которым может быть как человек, так и модель машинного обучения. После завершения сессии пользователь решает, принять обновлённый прогресс или откатиться к началу.
В патенте описана генеративная модель, способная распознавать объекты на изображении и формировать текст, видео, аудио, код и даже изменённые состояния приложения. Предусмотрена даже система рейтингов с оценками по жанрам, конкретным играм и отдельным элементам геймплея.
Ранее схожую инициативу запатентовала Sony, а в 2025 году Microsoft тестировала Xbox Gaming Copilot. Судя по всему, крупные платформодержатели всерьёз рассматривают сценарий, в котором игрок всё чаще делегирует сложные задачи алгоритмам.




0 комментариев